Gustav A.
&
G. Hugo Ernst


 

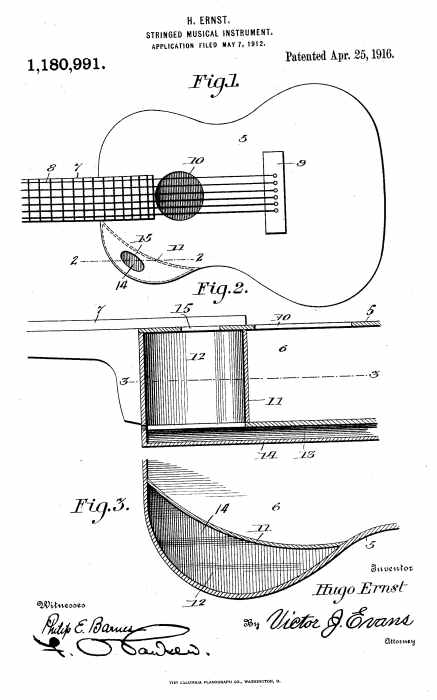
GUSTAV A. ERNST and his son G. HUGO ERNST came to Camden from Germany in the 1880s and over the next manufactured and sold musical instruments, first from a workshop which became a small factory adjoining their home at 1274 Mechanic Street, and later from 1327 Haddon Avenue. Gustav Ernst & Son made guitars, zithers, and mandolins. In 1916 Hugo Ernst was granted a patent for what in essence was an acoustic guitar with two sound chambers.

Gustav Ernst passed away in January of 1906. His son carried the business forward. He sold the factory on the corner of Mechanic Street and Norris Street in 1908, and consolidated his home, workshop and business a 1327 Haddon Avenue.

Hugo Ernst passed away shortly before the compilation of the 1926 Camden City Directory, His wife Martha and daughter Margaret remained on Haddon Avenue into the 1930s. They were renting at 1332 Thurman Street when the 1940 census was enumerated. City Directories from 1943 and 1947 Martha and Margaret Ernst at 1121 Kaighn Avenue, Apartment A.


Label is from Parlor Guitar shown below


Parlor Guitar

The back and sides appear to be mahogany. The sharp "V" neck is mahogany. The fingerboard is made from Brazilian rosewood.rboard.


Label reads "The Ernst, double body instrument, patented April 25th 1916, guitars, mandolins, and zithers made by Hugo Ernst, 1327 Haddon Avenue, Camden NJ USA." Written in pen "No. 105"

Separator made of stars

Autoharp Zither built by Gustav A. Ernst & Son 


Autoharp Zither built by Gustav A. Ernst & Son 

 

 

 

 

Separator made of stars

Philadelphia Inquirer - January 23, 1906


Philadelphia Inquirer - February 22, 1908


Hugo Ernst's
Stringed Musical Instrument Patent

Patent Applied for May 7, 1912
Granted April 25, 1916

Music Trade Review
May 6, 1916

Separator made of stars

Gustav A. Ernst Passport Application - May 23, 1896



Gustav A. Ernst Passport Application - May 23, 1896


  

Separator made of stars